(一)系统登录
考生通过电脑浏览器访问贵州省普通高校招生考试考生综合信息平台http://gkks.eaagz.org.cn,输入考生号或证件号,在登录页面中选择“密码登录”或“短信登录”(短信验证码登录须绑定手机号)。
(二)密码修改
若考生遗忘登录密码,可下载安装最新版本“贵州招考”移动端APP(通过华为应用市场、苹果appstore或腾讯应用宝下载)进行密码修改。
打开“贵州招考”APP后,通过人脸识别或短信验证码进行登录。成功登录后,如未绑定手机号,可通过手机右下角【我的】→【安全设置】→【绑定手机号】功能,绑定手机号。通过手机右下角【我的】→【安全设置】→【修改密码】功能,修改登录密码。
登录系统后,通过系统左侧的【我的志愿填报】→【计划查询】,查询可填报的院校专业计划。
考生可通过“院校条件筛选”和“专业条件筛选”筛选院校专业信息。不同考试类型的考生只能查询到对应招考类型下的招生计划。
注意:“院校条件筛选”和“专业条件筛选”为联动查询,筛选院校后再筛选专业,查询结果为筛选院校的对应专业。可点击“重置”按钮清空已选条件。
考生在计划查询的过程种可将感兴趣的院校专业“添加至收藏夹”进行收藏。
考生在填报时须先在草稿箱中填报志愿草稿,志愿草稿核对无误后,须“提交至志愿表”方可完成志愿填报。具体步骤如下:
(一)方式1:从收藏夹中添加志愿草稿。
通过系统左侧的【我的志愿填报】→【收藏夹】→【添加至草稿箱】可以将收藏夹中的院校专业添加至草稿箱。
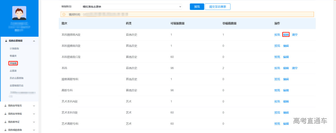
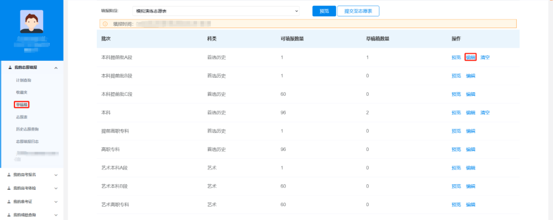
(二)方式2:直接在草稿箱中添加志愿草稿。
通过左侧的【志愿填报】→【草稿箱】→【编辑】→【新增志愿】直接添加志愿草稿。
通过【草稿箱】→【编辑】功能,编辑志愿草稿。“院校顺序志愿”需进行专业顺序调整,需确认是否服从调剂。“专业(类)平行志愿”需调整志愿顺序。编辑后点击“提交”完成编辑。
考生确认所填写志愿草稿准确无误后,须点击【草稿箱】→【提交至志愿表】,输入登录密码并点击“确认”,确保提交成功后志愿方可生效。
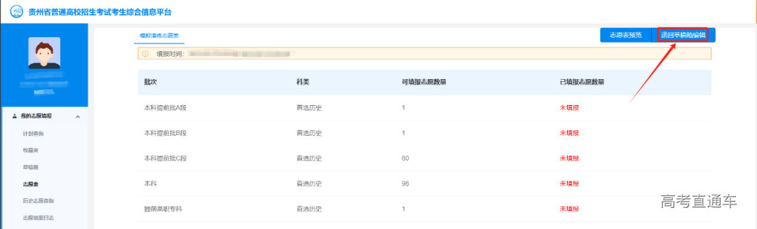
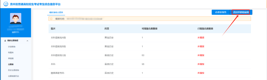
考生提交志愿表后,点击【志愿表】→【志愿表预览】,查看和确认所填报的院校专业志愿是否提交成功。
考生如需修改已提交志愿,可通过【志愿表】→【退回草稿编辑】,将已提交志愿退回至草稿箱。此时系统会提示已提交志愿表次数和剩余可提交次数。
已提交志愿退回至草稿箱后,志愿表将被清空,须在【草稿箱】中重新编辑后提交志愿。考生在志愿填报期间,最多可提交3次志愿,在填报时间截止后,所填报志愿不能进行任何修改。
















