按照往年的惯例,高考报名将会在10月中旬至11月展开。参加高考的考生,要在规定时间内完成报名、采集信息、建立电子档案、生成考生号……那么,高考报名时,异地户口考生需要符合哪些条件?目前多省份已公布2025年普通高考报名政策,跟高考直通车一起了解——
异地高考是指户籍在外地的学生,在满足一定条件下,在居住地(非户籍所在地)参加高考的政策。这通常涉及到学生户籍的迁移、学籍的注册以及实际就读年限等要求。
异地高考政策的主要目的是保障外来务工人员及其子女的合法权益,促进教育公平。通过允许学生在居住地参加高考,可以减少他们的流动和不便,提高他们的教育获得感和满意度。
注意!异地高考≠高考移民!
异地高考是政策允许,高考移民则是国家明令禁止的。
高考移民是指部分考生在普通高校招生全国统一考试报名前,利用省际间录取分数线差异,通过办理非正常户口迁移手续,在分数线较低的省份获取报考资格和较多的录取机会的现象。这些考生绝大多数未在户口迁入地实际居住和接受高中教育,而是通过非正常学籍迁移、空挂学籍、违规落户、提供虚假学籍证明材料等手段在一些省份获取高考资格。
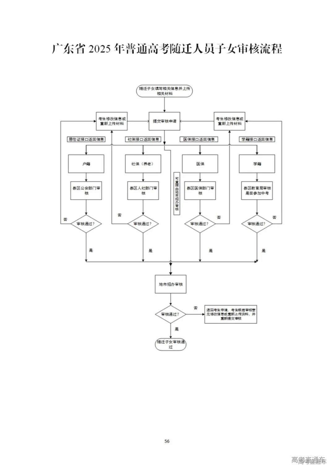
外省户口考生如果想在广东省参加高考和录取,需要符合6个条件,即职业、住所、居住证、社会保险、在广东中考、学籍都要符合规定,缺一不可。
①应届毕业生
1.具有广东省高中阶段学校连续3年学籍(时间计算到高考当年8月31日,下同)并实际就读,且高考报名时具有广东省户籍的。
2.考生父母(含父母一方或法定监护人)为广东户籍,考生取得广东省户籍满1年、学籍满1年不足3年并实际就读的。即考生于高三年级开学前(时间统一截至2024年8月31日)已将户籍迁入广东省,且高三年级开学前已具有广东省省高中阶段学校学籍并连续实际就读。
3.考生父母(或法定监护人)均非广东户籍,但考生取得广东省户籍满2年、学籍满2年不足3年并实际就读的。即考生于高二年级开学前(时间统一截至2023年8月31日)已将户籍迁入广东省, 且高二年级开学前考生已具有广东省高中阶段学校学籍并连续实际就读。
②往届毕业生
1.持广东省高中阶段学校毕业证书的。
2.持外省高中阶段学校毕业证书,户籍迁入广东省满18个月(时间计算到高考当年8月31日),且高考报名时高中阶段学校毕业满1年的。
③同等学历人员
1.户籍迁入广东省满3年(时间计算到高考当年8月31日),且在广东省参加中考,高考录取时考生须初中毕业(含结业)满3年,并取得广东省普通高中同等学力证明的。
2.户籍迁入广东省满18个月(时间计算到高考当年8月31日),高考报名时初中学校毕业(含结业)满4年,并取得高中同等学力证明的。
报名流程及相关表格:
扫码回复:高考报名
下载高清无水印版
常见问题汇总:
考生家长已退休,怎么办?
退休前在广东省缴纳社会基本养老保险及基本医疗保险累计满三年的予以认定,否则不予认定。
考生家庭住所是单位宿舍,可以认定吗?
提供证明材料,并按《广东省租赁房屋治安管理规定》的要求到当地派出所或乡镇、街道负责租赁房屋服务管理的机构办理了居住手续的予以认定,否则不予认定。
以下情况均予以认定:
考生父亲或母亲在随迁子女高一入学前(9月1日前,时间不限)已办理居住证,且在高考录取结束时(8月31日)持有有效居住证的。
但是这种情况不予认定:
考生父母在当地居住,但未办理居住证;考生父母在广东省购房但未办理居住证,不予认定。
反正一句话,一定要办理居住证,这个很重要!家长要提前规划好!
以下情况均予以认定:
考生父亲或母亲在我省参加社会基本养老保险及基本医疗保险,截止至高考录取结束时(8月31日)缴费年限累计达到3年以上(含3年)的。
但是这种情况不予认定:
考生父母仅购买了社会基本养老保险及基本医疗保险中的一种。
考生父母有工作,但未办理社会保险(含基本养老保险和基本医疗保险)。
以下情况均予以认定:
随迁子女在我省参加中考及在父亲或母亲就业所在地市具有高中阶段学校3年完整学籍。
随迁子女在我省参加中考并在我省具有高中阶段学校3年完整学籍,但考生学籍所在地与父母工作所在地为广东省内不同地市。
但是这种情况不予认定:
随迁子女不在我省参加中考,但在父亲或母亲就业所在地市具有高中阶段学校3年完整学籍。
1.考生与父母不在同一户口本上,怎么办?
考生父母提供《出生医学证明》或其他亲子关系证明材料的予以认定,否则不予认定。
2.父亲母亲分别符合部分条件,可以高考吗?
考生父亲及母亲双方条件综合满足资格要求予以认定。
3.随迁子女往届考生是否可在广东省内报名参加高考?
可以。考生参加地市中考、具有我省连续三年完整高中学籍、父亲或母亲符合相关要求的可在广东省报名参加高考。
4.父母离异或父母身亡的,应该怎么办?
需提供监护人变更证明(法院判决书或监护人公证书等)。依据监护人条件审核考生报名资格,考生监护人符合相关要求考生即可在我省报名参加高考。
5.父母为广东省内户籍,考生为外省户籍,可以高考吗?
参照上文的条件。
重要提醒:不符合广东省报考条件的随迁子女考生应密切关注原户籍地(或流出地)的报考通知,及时回原籍报考。确实错过原籍报考时间的考生,应及时向所在中学反映,由所在中学将名单报上级招生考试机构,省教育考试院汇总名单后,将尽力协调考生原籍省份安排补报名。对艺术类、体育类、中职类等特殊类型考生,因考试时间较早,一旦错过当地高考报名将可能无法安排考试。
进城务工人员及其他非我省户籍就业人员的随迁子女,具有我省高中阶段学校学籍且有3学年连续实际就读经历。同时,其父母一方须有近三年在我省按国家规定缴交社会保险费或纳税等可证明其在我省从业经历的记录。
随迁子女还须同时提交父母一方在闽从业经历证明材料,其中缴交社会保险费或纳税的由教育部门汇总名单后交由当地人社、税务等部门核查。
外省户籍在江西就业人员随迁子女(以下简称随迁子女),已取得江西省高中阶段学籍并实际就读一年以上;外省户籍具有江西省中专、技工学校连续3年学籍应届毕业生;在江西省定居的外国侨民或在江西省高中毕业的港澳台籍考生。
根据天津市发布的《天津市居住证持有人随迁子女在本市接受教育实施细则》。
居住证持有人通过积分方式取得天津市常住户口后,其随迁子女按照投靠落户政策取得天津市常住户口,且满足天津市高考报名政策要求的,可以报名参加本市普通高等院校招生考试。
居住证持有人随迁子女在本市普通中专、职业高中、技工学校毕业或具有同等学力,可以报名参加本市高职分类考试专科层次招生。
来辽宁省进城务工的外省户籍人员的随迁子女考生(以下简称随迁子女考生)在我省参加普通高考报名,在具备报名基本资格的同时,还须符合以下条件:
1.在我省高级中等教育阶段有三年学籍且有连续实际就读经历(须具有我省高级中等教育学校初始注册学籍)。随迁子女往届考生还须具有我省高级中等教育学校毕业证书。
2.父母在我省具有合法稳定职业和合法稳定住所(含租赁)。
进城务工人员随迁子女考生来我省就读的,考生本人学籍、考籍转入我省时间必须满三年(2022年9月30日前转入),并在学籍所在地学校连续就读,在我省普通高中有完整学习经历并参加我省普通高中学业水平考试。
此外,其父或母须在我省有合法职业(包括:被国家机关、社会团体、事业单位录(聘)用;兴办第二、三产业及社会组织具有法人代表资格;被各类企业聘用)、合法稳定住所(含租赁)并连续缴纳城镇企业职工社会保险(2022年9月30日前开始缴纳,不含补缴,同时参加养老保险、医疗保险、失业保险)。
“随迁子女”考生报名时,还须交验家长(父或母)社保缴费证明材料、合法职业证明材料、稳定住所证明材料;以及学籍迁入证明材料、实际就读证明材料。
非我省户籍的进城务工人员随迁子女参加高考报名,须具有我省高中阶段教育3年学籍且高中阶段教育在我省连续实际就读3年以上(考生实际就读学校与学籍所在学校必须一致),父母在我省有合法职业和合法稳定住所(含租赁)。
区外务工人员随迁子女考生,除符合“25号文件”规定的参加2020年我区中考条件外,截至2023年9月1日,还须符合以下4个条件:一是2020年被自治区内高中录取;二是本人具有我区高中阶段学校(含中等职业学校)学籍且连续就读满3年;三是家长在我区有合法稳定住所(含租赁)且连续居住、有合法职业且纳税(或按国家规定参加社会保险)均满3年;四是参加我区高中学业水平考试开考的全部科目考试。
1.遵守中华人民共和国宪法和法律;
2.身体状况符合相关要求;
3.普通高中学校应届、往届毕业生须符合“自高中一年级起在流入地普通高中学校就读,取得就读学校学籍,并参加了我省普通高中学业水平合格性考试”,且其父母在当地居住1年期以上的条件。中等职业学校(含技工学校)毕业生须符合“在我省中等职业学校连续就读2年以上(含2年),并具有就读学校学籍”的条件。
不具有我省户籍的进城务工人员随迁子女,在我省具有高中阶段3年完整学籍并有相应学习经历,可在学籍地参加高考。
符合下列条件之一的非本市户籍人员可在沪报考:
(1)考生为积分达到标准分值的《上海市居住证》持证人的同住子女,且在本市参加中考或父母一方连续持有《上海市居住证》3年,同时须本市高中阶段学校毕业;(2)考生为《上海市海外人才居住证》留学人员持证人的同住子女,且须本市高中阶段学校毕业;(3)考生为持有效《具有本市户籍留学人员其持外国护照子女享受优惠政策证明》的留学人员其持外国护照子女,且考生须是参加本市中考并具有本市高中阶段完整学习经历的应届毕业生或2024年已列入本市高考报名库的往届毕业生;(4)考生父母双方或一方现属本市常住户籍,考生本人持《上海市居住证》,且考生须是参加本市中考并具有本市高中阶段完整学习经历的应届毕业生或2024年已列入本市高考报名库的往届毕业生;(5)考生父母双方或一方是经市政府合作交流办认定的驻沪机构工作人员,且考生须是参加本市中考并具有本市高中阶段完整学习经历的应届毕业生或2024年已列入本市高考报名库的往届毕业生;(6)考生为在沪定居并持有签发地为上海的《中华人民共和国外国人永久居留身份证》的外国人,且为高中阶段学校毕业生;(7)考生父母双方或一方是在沪博士后科研流动站(工作站)在站人员,且考生为高中阶段学校毕业生;(8)考生属在沪台胞,香港、澳门特别行政区永久居民身份,且为本市高中阶段学校毕业生;(9)考生为梅山、大屯、鲁矿三地上海后方基地单位职工子女,且纳入市教委锁定名单,须参加本市中考且本市高中阶段学校毕业。
来疆务工人员随迁子女,初三年级及普通高中阶段在疆连续实际就读四年并有四年完整学籍,有连续三年我区普通高中学业水平考试成绩,有新疆初中毕业证书和中考成绩,其父亲或母亲或其他法定监护人在疆有合法职业及四年居住证明,有在疆社保缴费记录或纳税证明。允许其报考区内外高职(专科)院校(专业)。
来疆务工人员随迁子女,初中二、三年级及普通高中阶段在疆连续实际就读五年并有五年完整学籍,有连续三年我区普通高中学业水平考试成绩,有新疆初中毕业证书和中考成绩,其父亲或母亲或其他法定监护人在疆有合法职业及五年居住证明,有在疆社保缴费记录或纳税证明。允许其报考区内本科院校(专业)和区内外高职(专科)院校(专业)。
来疆务工人员随迁子女,初中及普通高中阶段在疆连续实际就读六年并有六年完整学籍,有连续三年我区普通高中学业水平考试成绩,有新疆初中毕业证书和中考成绩,其父亲或母亲或其他法定监护人在疆有合法职业及六年居住证明,有在疆社保缴费记录或纳税证明。允许其报考区内外本专科院校(专业)。
外省户口务工人员随迁子女在我省参加高考(以下简称“异地高考”)的报名条件
1.本人及其法定监护人在我省有合法稳定的住所(含租赁)并连续居住满6年;本人初一到高三年级在我省学校有学籍并连续在我省就读6年,同时在我省普通高中学校毕业;其法定监护人在我省有合法稳定的职业,并按规定参加我省从业人员各项社会保险(灵活就业人员参加从业人员基本养老和基本医疗两项社会保险)满6年,可以在我省报名参加高考,不受报考批次的限制。
2.考生本人小学一年级到高三年级在我省学校有学籍并连续在我省就读满12年,同时在我省普通高中学校毕业,本人及其法定监护人在我省有合法稳定的住所(含租赁)且就读期间连续居住满12年,其法定监护人在我省有合法稳定的职业,可以在我省报名参加高考,且不受报考批次限制。
3.本人及其法定监护人在我省有合法稳定的住所(含租赁)并连续居住3年以上(含3年)不满6年;本人初中阶段在我省学校就读并毕业,参加我省中等学校招生考试取得我省高级中等教育学籍并连续在我省就读满3年,同时在我省高级中等教育学校毕业;其法定监护人在我省有合法稳定的职业,并按规定参加我省从业人员各项社会保险(灵活就业人员参加从业人员基本养老和基本医疗两项社会保险)3年以上(含3年)不满6年,可以在我省报名参加高考,但只能报考原本科B批及高职专科学校。
4.本人及其法定监护人在我省有合法稳定的住所(含租赁),本人在我省有高级中等教育学校就读经历,并取得高级中等教育学校毕业证书,其法定监护人在我省有合法稳定的职业,可以在我省报名参加高考,但只能报考本省的高职专科学校。
外省进城务工人员随迁子女在我省参加高考报名条件:
在我省就业的外省进城务工人员随迁子女(简称随迁子女)参加我省高考报名,除具备上述相应报名条件,还须同时具备以下条件:
1.在父亲或母亲或法定监护人经常居住地(居住证所在市)接受高中段教育,至毕业时具有两年(含)以上连续就学记录(不含高中毕业后复读时间)和学籍;
2.父亲或母亲或法定监护人具有居住证、就业创业证(就业创业证电子证或就业失业登记证)。
随迁子女考生须在父亲或母亲或法定监护人居住证所在市级招生考试机构指定的报名点报名。如考生在户籍省和我省均参加了高考报名,一经查实,取消在我省的报名资格。
随迁子女考生须提供高中段学籍证明、毕业学校出具的连续学习记录证明、本人居民身份证、户口本、父亲或母亲或法定监护人的就业创业证(就业创业证电子证或就业失业登记证,)和居住证。








