
注:本文展示的数据整理自广东2023年高考投档数据,具体类型为普通本科批,不含特殊类型招生、本科提前批、艺体类以及征集志愿阶段的投档数据。
不过,如果想通过目前的模考成绩来为自己进行高考估分定位、对标目标院校找差距,那么这个差距最好是通过排位来找而不是分数。很多同学会通过模考成绩来推测高考省排名,一些常见的方法如下:
一、参考历年数据:收集并参考历年高考的分数线、各科平均分、最高分等信息。这些信息可以帮助你了解不同分数段在全省的排名情况。
二、利用线差法:线差法是一种通过比较考生分数与批次录取控制分数线(省控线)的差值来估算排名的方法。具体步骤如下:
1.首先,确定模考的批次录取控制分数线,这可以根据模考的难度和范围进行推测。
2.然后,计算你的模考成绩与批次录取控制分数线的差值(即线差)。
3.接着,查找历年高考中相同或相近线差对应的排名范围。
最后,根据你的线差和历年数据的对比,大致估算出你在全省的排名。
三、考虑学校排名:如果你所在的学校历年来的高考成绩在全省有较为稳定的排名(比如广州、深圳的重点高中),你可以根据自己的模考成绩在学校的排名来推测在全省的排名。但这需要你对学校历年的高考成绩有较为详细的了解。
四、系数法:像广州一模,广州的家长同学可以根据图片给出的系数。通过市排名乘以相关系数推算出省排位。按以往高考规律,省排名=市排名X(3~10倍),排名越靠后,倍数越多。比如物理类的同学在这次一模中排9500名,乘以系数6,大概的省排位就是9500*6=57000名。
但无论哪种方法,估算出来的排名都不能完全精准。某些方法在某些分段里面更是误差极大!而且一些同学没有参加市统考,只是自己做题打分,没有市排名,那怎么办呢?
在高考直通车的「省排名转换系统」,不仅可以把模考市排名转换成高考省排名,还能看到每一个分段有多少名同学,也就是同分有多少人,因此数据会更为精准。

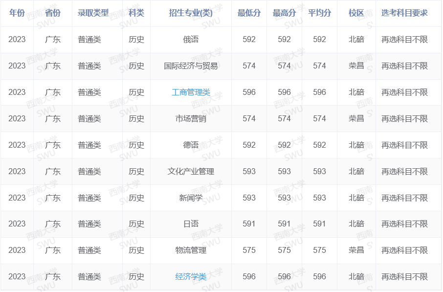
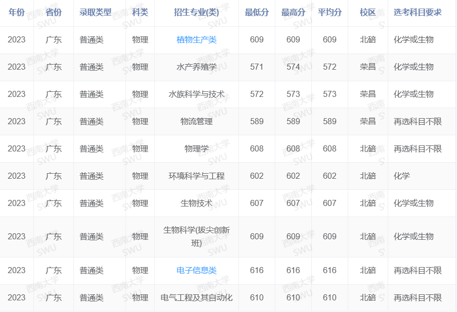
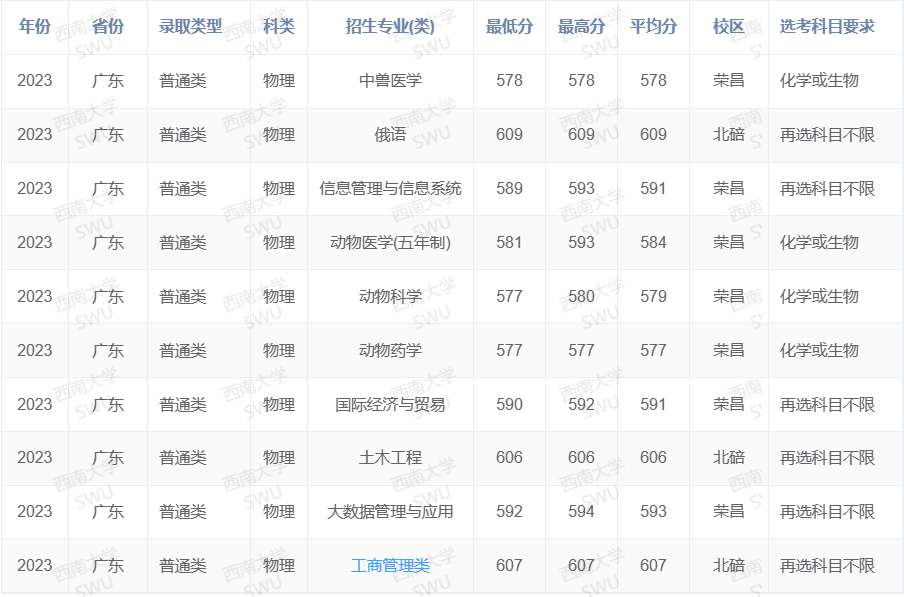
当然了,前面提到的其实都是985/211大学在广东高考的录取门槛而已。不同大学的专业报考情况有冷有热,就连同一所大学的不同专业录取分可能都相差甚远。 为了方便各位同学和家长了解到更详细的数据,车车还整理了目前已公布的985/211大学在广东的专业录取数据,继续往下看👇 物理类: 历史类: 物理类: 历史类: 物理类: 物理类: 历史类: 历史类: 物理类: 历史类: 物理类: 物理类: 历史类: 物理类: 历史类: 物理类: 历史类: 历史类: 物理类: 历史类: 物理类: 物理类: 历史类:主校区(含开发区校区):
盘锦校区:






































