现将本科提前批B段历史类、物理类院校(专业)剩余计划第一次征集志愿有关事宜公告如下:
填报志愿的考生,在录取系统内的考生状态须为“自由可投”,且须达到相应类别院校(专业)报考要求。
7月8日17:00开始网上填报志愿,22:00结束。
征集志愿采用平行志愿模式,设置45个平行志愿,每个志愿设1个“是否服从专业调剂”选项。
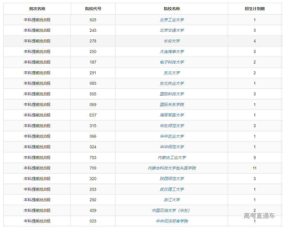
本次征集志愿所用招生计划见“填报志愿专栏”中的“2025年高考本科提前批B段普通类剩余计划第一次征集志愿计划表”。
网上征集志愿结束后,将按照“分数(位次)优先、遵循志愿,一轮投档”的原则进行平行志愿投档,投档比例为1:1。
参加本次征集志愿并被录取的考生,不再参加后续征集志愿和后续其他批(段)次投档录取。
其他未尽事宜按《内蒙古自治区2025年普通高校招生网上填报志愿公告(第3号)——本科提前批、本科批及普通类高职(专科)提前批志愿填报》执行。
历史类
物理类

