在每年的录取中,总有一部分考生尽管其总分超过了重庆市某一批次的最低控制分数线,却最终没有被相应批次的学校录取,我们称之为“上线落榜”,这是一种正常的现象。也许有人会问,分数达到了批次控制分数线怎么还不能被录取呢?其实考生能否被录取是由多种因素决定的,高考落榜既有考生自身的原因,也有外部原因。
划线政策性落榜 教育部录取原则明确“对思想政治品德考核合格、身体健康状况符合相关专业培养要求、投档成绩达到同批录取控制分数线并符合学校调档要求的考生是否录取以及所录取的专业由高校自行确定”。因此,各省市都要按略多于招生计划总数确定控制分数线,既然按略多于招生计划总数确定最低控制分数线,那么理论上这“略多于”的部分在录取中就要落榜,这就是政策性落榜。 上调档线后落榜 考生上了学校调档线后,学校可按招生章程将不符合条件的考生进行退档。被退档的原因可能有: 1.成绩较低。一是总分较低,在投档考生中排名靠后,学校计划录取满额;二是单科要求达不到,考生总分虽然可能较高,但学校专业有单科要求,考生不符合录取条件。 2.身体条件受限。有的考生因身体原因,报考专业受限,如高度近视、色盲、色弱、嗅觉不灵、昕力迟钝等,事先又没有仔细查阅《高等学校招生体检标准》和学校招生章程以及招生计划专业备注等,盲目选报了一些受限院校和专业, 最后因身体不合格而被淘汰。 3.专业不服从调配。有的考生认为自己总分高,所填报的院校和专业均较热门,但已经被分数更高的考生占位,如果考生又不服从专业调配,极可能被退档。 上控制线无法投档落榜 有的考生志愿填报太高,后续志愿又没有形成梯度,则可能会出现本批次各个志愿均不能投档的情况。
昨天,我们相继公布了批次控制分数线、高考成绩和一分段表。知线、知分、知位之后,如何有效筛选目标院校成为考生和考生家长们的头号难题!
知线:批次控制线
知分:高考分数
知位:高考分数在全市的排位
【志愿填报辅助】系统
通过“分差法”、“位次法”
助你快速锁定目标院校
☝ 查询界面
☝ 通过分差法快速筛选出历年录取线上分数差为“50分-100分”范围的一本院校
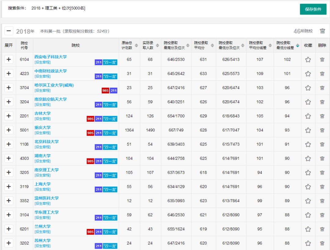
☝ 通过位次法快速筛选出历年录取考生位次包含“5000名”的一本院校
☝ 点击院校名称或专业名称前的+号还能查看专业录取详情哦!





