首批法律博士学位点公示不久后,多所具有学位授权自主审核权限的高校也于近日开始布局法律专博,东南大学、重庆大学、北京大学等多所985高校陆续召开法律博士专业学位授权点专家论证会。
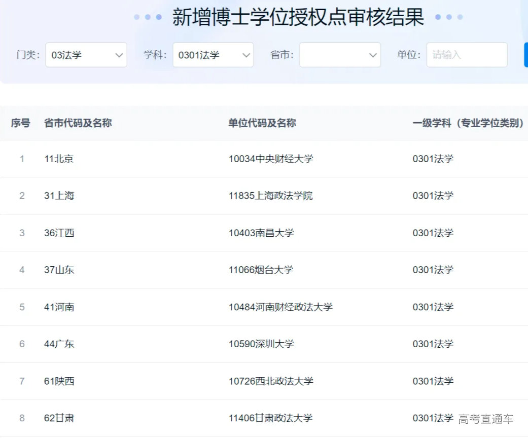
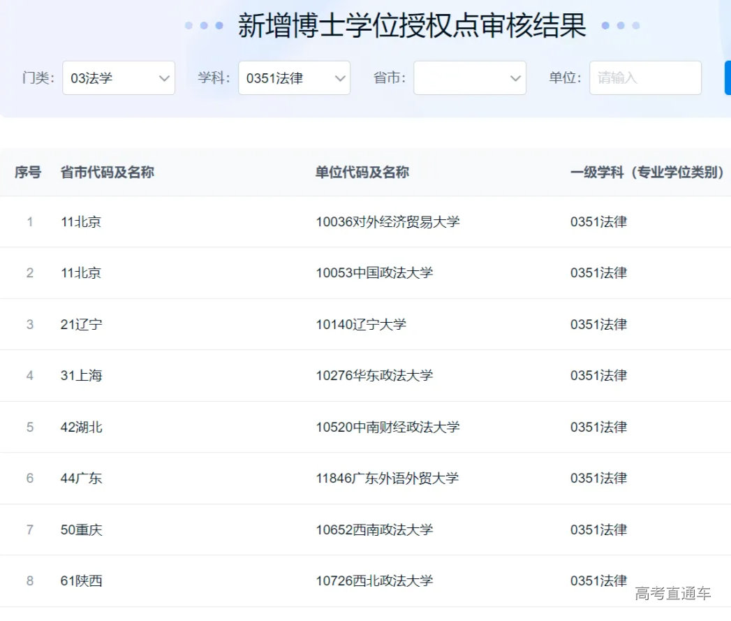
今年7月31日,国务院学位委员会办公室发布《新增博士硕士学位授权审核专家核查及评议结果公示》。除8所院校拟获得法学一级学科博士学位授权点之外,西北政法大学、中国政法大学、辽宁大学、广东外语外贸大学等8所高校拟获得法律博士专业学位授权点,这也是我国首次集中设立法律博士学位点。
据不完全统计,目前已至少有16所高校正布局法律专博。在专业博士持续扩招的背景下,首批法律博士的入场无疑为法学学科体系的健全、法治人才多层次发展注入了新动能。
首批法律专博,这些学校抢滩设立
本次获批法律博士点的8所大学均拥有法学一级学科和法律博士专业学位授权点双博士点。在已经拥有法学一级学科博士点的情况下,为什么还要专门设置法律专博?法律专博培养什么人才?又该如何培养?
近年来,围绕专业博士扩招的声音始终不断,其中有叫好声,也有嘘声。2020年9月30日,国务院学位委员会、教育部关于印发《专业学位研究生教育发展方案(2020-2025)》的通知明确提到:博士专业学位类别设置的重点是工程师、医师、教师、律师、公共卫生、公共政策与管理等对知识、技术、能力都有较高要求的职业领域。
不难看出,专业博士的设置直接与市场需求挂钩,而法学一直被认为是人文社科专业中应用性最强的学科之一。据司法部公开数据显示,截至2022年底,全国共有执业律师65.16万多人,但其中具有博士研究生学历的律师仅为7800多人,占比1.21%。
法学“五院四系”中的“五院”本次集中拟新增法律专博点。值得关注的是,法学传统“五院”高校中此前唯一没有博士点的西北政法大学,这次是同时获批了法学一级学科博士点与法律博士专业学位点。在此之前,西法大一直是以“服务国家特殊需求人才培养项目”招收和培养博士研究生的,该项目也是全国法学学科中的“独苗”,强调要培养能研究和解决西北地区稳定发展与国家安全存在的重大现实法律问题的应用型高级法律人才。
“特需项目”在人才培养模式的性质上,其实就具有专业博士学位的明显特征。我国“五院”高校中的大部分毕业生都从事着法官、检察官、律师等法律工作,是我国司法工作人才培养的重镇,但长期以来,法学博士和以应用为导向的高级人才培养之间,在职业领域、研究方向等方面始终存在错位。随着法律职业专业化、职业化程度的提高,有学者认为现有的法学博士人才培养已不能满足从事实务部门高级岗位工作的需要,法律博士的入场无疑能为解开这一症结注入一剂良药。
可能会让不少人感到意外的是,对外经济贸易大学是我国设立法学博士点最早的一批高校,早在1985年,该校就成为全国首批获得国际经济法专业博士学位授予权的四所院校之一(其他三所为北京大学、武汉大学、厦门大学)。40多年来,贸大法学院为社会培养了大批高素质的涉外经贸法律人才,除出国继续深造外,就业主要分布在国内外顶尖律师事务所、国家行政机关、司法机关以及知名外企等行业或单位,多数从事与涉外经贸相关的业务。
我国高等院校的法学专业大部分都创建于上世纪八十年代初,虽然起步较晚,广东外语外贸大学却另辟蹊径。1995年,原广州外国语学院与原广州对外贸易学院合并为广东外语外贸大学,两校合并政策倾斜的利好带来了政策扶持,广外在一年后就借着这股“东风”建立了第一个法学专业——国际经济法,要培养外语好、懂国际贸易的法律人才。“法学+外语+实践”,让广外走出一条涉外法治人才培养之路。2021年,广东省第三个法学一级学科博士点花落广外,今年,广外又一举拿下法律专博。
60+高校,能培养法学博士
算上新增的这批高校,至此,我国拥有法学一级学科博士点的单位已达到68个。自1981年我国首次布局设置博士学位授权点,2003年公布首批法学一级学科博士学位授权单位,至今年公示首批法律博士专业学位点,法学学科博士点发展已历经43年。那么,这些有法学一级学科博士点的学校发展得怎么样?人才培养得又怎么样?
起步早,基础厚
1981年11月,国务院学位委员会发布《关于下达首批博士和硕士学位授予单位的通知》,批准首批博士学位授予单位共151个,其中普通高等学校获批114所。北京大学的法学理论、国际经济法、国际法,武汉大学的国际法成为我国最早布局的4个法学博士点。此后,中国社会科学院研究生院(现中国社会科学院大学)宪法学、中国政法大学法律史、中国人民大学刑法学、对外经济贸易大学国际法学等也相继获批博士点,这些高校是当之无愧的中国法学教育领域的先行者。
“北朝阳,南东吴”“无朝(阳)不成院(法院)”,在中国近代法学教育史上,这一美誉正是形容并入人大法律系、当时被称作“中国最优秀之法律院校”的朝阳大学。如今,人大法学院更是被誉为中国法学教育的“工作母机”和“法学家的摇篮”,已成为引领法学教育的重镇、凝聚国内优秀法律人才的平台和沟通中外法学交流的窗口。
非“双一流”高校中,中国社会科学院大学和西南政法大学最早获批法学一级学科博士点,华东政法大学也随即在2006年第二次博士点公布时早早获批。社科大法学系建系以来,培养出了新中国第一位宪法学博士生,多位“全国十大杰出青年法学家”、“当代中国法学名家”等,为法学研究事业与法治国家建设输送了大批高端人才。西南政法的毕业生遍布中国司法实务界和学界,北京大学法学院原院长朱苏力在其所著《从法学引注看中国法学的现状》中开出的国内法学学者“大名单”——近乎一半出身西政。西南政法被业界誉为中国法学教育的“黄埔军校”,也有人评价说她是法学教育最成功的典范。
法学院系新秀,后来居上
法学博士点是学校法学人才培养能力的重要标志,也是吸引人才的重要载体。在我国六大地区中,西北地区长期处于法学一级学科博士点缺失的“尴尬”局面,直到2017年,新疆大学才拿下西北地区高校中的第一个法学博士点。西安交通大学于2019年获得法学博士一级学科授权点,也结束了教育重镇西安没有法学一级博士点的历史。目前,在我国34个省级行政区中,除港澳台外,还有内蒙古、广西、宁夏、青海、西藏尚无法学一级学科博士点。
除社科大和“五院四系”外,非“双一流”高校中,2010年,黑龙江大学率先获批法学一级学科博士点,河北大学、浙江工商大学和江西财经大学也在2017年拿下博士点。2022年入选国家第二轮“双一流”建设高校的湘潭大学和山西大学,也同样早早就拿下了法学一级学科博士点。
“五院四系”的名声虽然响亮,但近年来,也出现了不少法学院系新秀,甚至出现了新版“五院四系”。杜克大学法学院规定,从2011年开始,9所中国大陆高校的法学院可以申请该校的全球领袖奖学金,分别是北大、清华、人大、上交、武大、厦大、吉大、法大以及华政。在这份名单中,清华大学法学院、上海交大法学院和厦门大学法学院是新面孔。在2023软科中国最好学科排名中,上交、清华和厦大的法学学科分别位列第8、第9和第13名,3所高校的法学院已然迅速成长为法学教育领域的翘楚,展露峥嵘。
回顾我国法学学科的发展史,法学教育固然已经形成了本硕博层次齐全、学术学位与专业学位类型结构完整、规模较大的学科体系和人才培养体系,但法学作为一门实践性很强的学科,其生命之源永远在于实践,面对高层次应用型法治人才缺失的情况,我们期待法律专博的设置能真正做到和实践产生深层的联系,真正培养各级政法实务部门和法律服务行业所需的人才。




