今年我省高考网上志愿填报截止时间为7月2日18:00。考生一定要在规定时间内填报志愿,切忌在填报截止时间前,匆忙填报、忙中出错,同时也避免网络、电力等意外情况出现而影响志愿填报,错过志愿填报时间将无法进行补报。
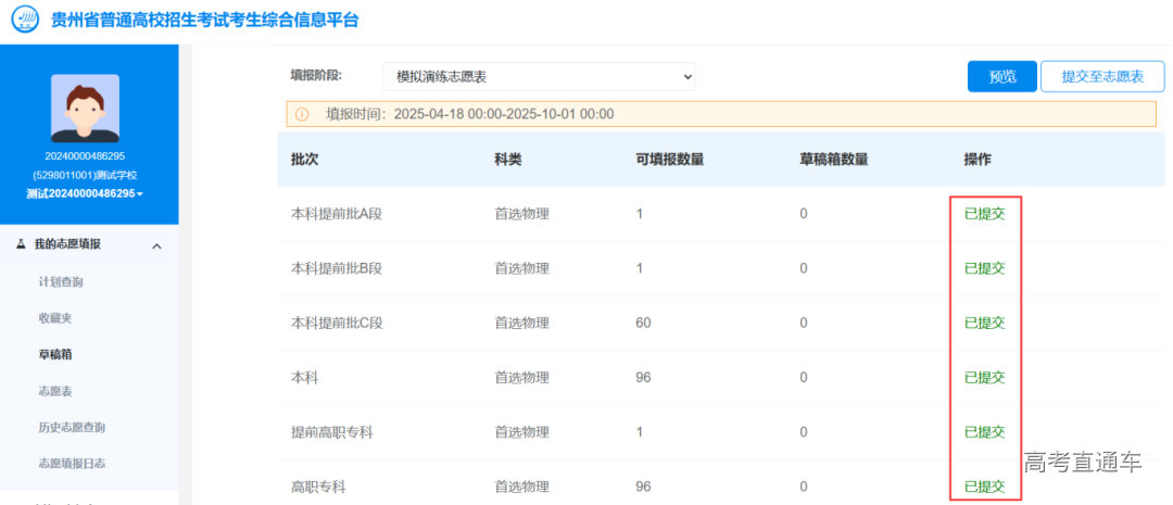
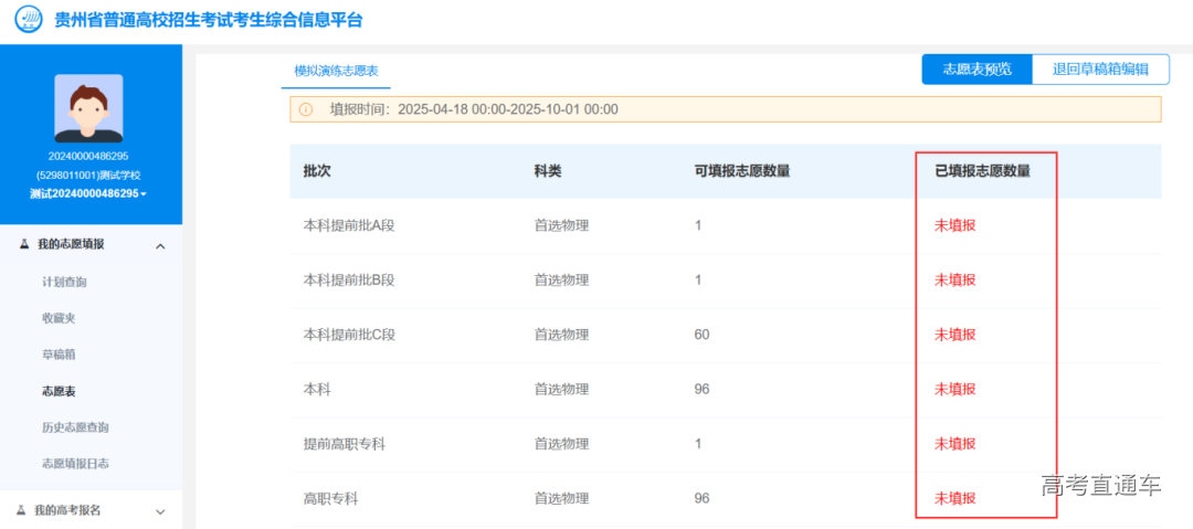
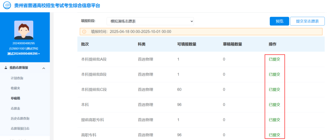
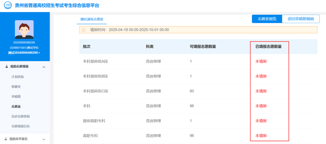
请各位考生认真阅读以下操作,并仔细核对自己填报的志愿: ①考生各批次志愿草稿编辑完成且核对无误后,点击草稿箱页面右上角“提交至志愿表”按钮,输入“登录密码”后将“草稿箱”中志愿作为正式志愿提交,确保提交成功后志愿方可生效。未提交至志愿表或者提交失败,志愿将为无效志愿。提交后,草稿箱各批次列表将显示“已提交”。 ②考生提交志愿后,须点击“志愿表”→“志愿表预览”。逐条核对志愿信息,查看和确认所填报的院校专业志愿是否提交成功,包括核对院校代号、院校名称、专业代号、专业名称以及志愿顺序等。 考生若需修改已提交志愿,可通过“志愿表”→“退回草稿箱编辑”,将已提交志愿退回至草稿箱。此时系统会要求输入登录密码,并提示已提交志愿表次数和剩余可提交次数 注意:已提交志愿退回至草稿箱后,志愿表将被清空,显示为“未填报”,考生须在“草稿箱”中编辑后重新提交志愿,否则志愿信息将为空。考生在志愿填报期间,最多可提交3次志愿,提交次数用完或填报时间截止后,所填报志愿不能进行任何修改。 ③考生志愿填报完成后,点击“安全退出”以及关闭填报页面,以确保志愿信息安全。





