一提到名校很多人第一反应想到的就是985、211。它们的师资力量强,硬件设施都比普通院校实力要强。
但是我国也有一些大学,既不是985院校,也不是211大学,毕业之后就业率却很高,不比重点大学差。
今天,小车就为大家介绍6所毕业后非常好考公务员的大学,一起来看看!
北京电子科技学院是唯一一所中共中央办公厅直属的高校,是一所为全国各级党政机关培养信息安全和办公自动化专门人才的普通高等学校。开设5个系,开办8个本科专业。信息安全、电子信息工程是国家级特色专业。为全国党政机关培养和输送了大批高素质的人才。
因为北京名校太多,所以很多人对于该校并不熟悉。该校的录取分数较高,而且对于考生的政审要求很严。但是一旦考上,就业率很高,是提前批次院校。
附2022年录取分数线:
(还有部分省份暂未公布)
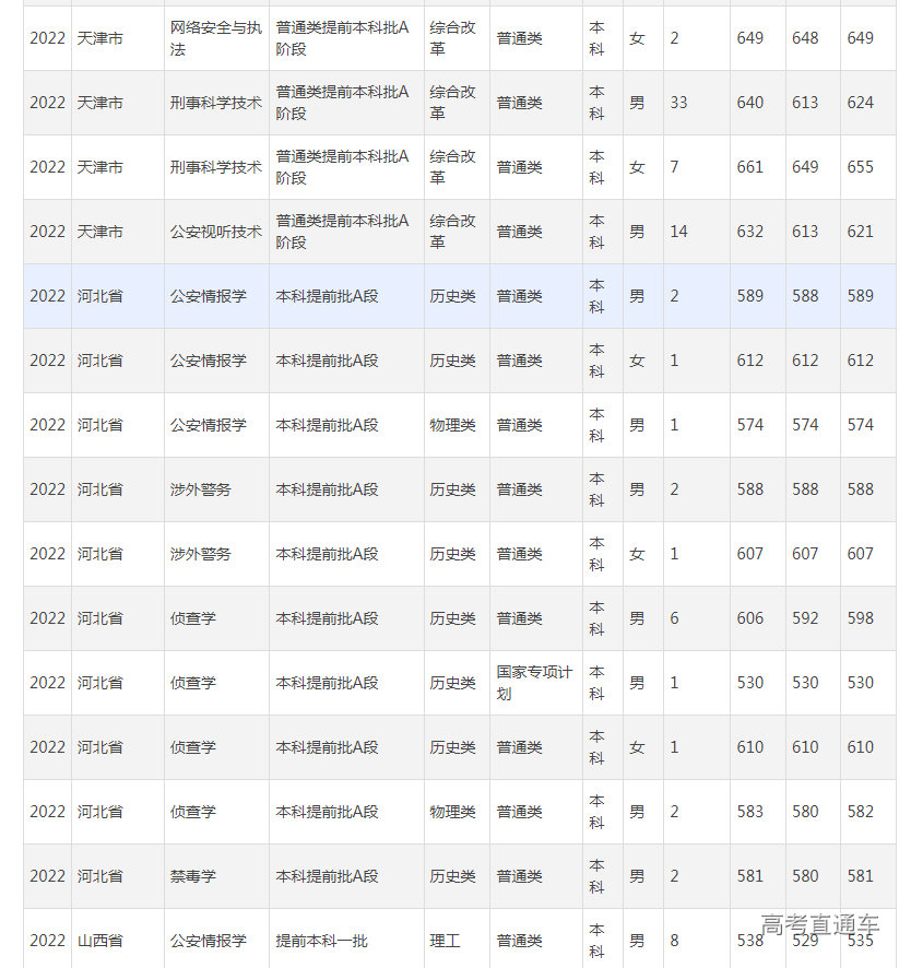
中国刑警学院最早是新中国成立前一年建立的东北公安技术训练大队,在上世纪五十年代的时候改名为中央人民警察干部学校,在八十年代初的时候更名为中国刑事警察学院,并且与公安部人民警察干部学校合办,在二十世纪末的时候这所学校获得了硕士学位的授予权,并且在次年开始招收硕士研究生。
这所大学的信息安全、刑事科学技术以及侦查学均是国家级特色专业,其还有刑事摄影、痕迹检验学、预审学、印刷文件检验以及笔迹检验这五个国家级精品课程。
在专业水平和学科实力上,这所大学不能和一些“211工程”、“985工程”大学相比,但是其毕业生中公务员的比例却非常高,因为这所大学在21世纪后,就非常受国家的重视,而且其在公安部的委托下开展了警察培训工作,因此这所大学为我国培养了成千上万名刑侦人才,因此这所大学很多学生毕业直接是公务员。
附2022年录取分数线:
(上下滑动查看)
这所大学的审计学、金融学以及财政学先后被评选为国家级特色专业,其审计科学与技术和现代审计科学均为省级优势学科,其审计学专业实力非常强大,在全国排名第一。
除此之外,这所大学的审计高等教育理论探索与实践创新获得了国家级二等奖。南京审计大学被英国的特许公认会计师公会,其简称为ACCA,被选为全世界培养出ACCA人才最多的大学之一,因此在这所大学考会计证是非常容易的,而考公务员也非常有优势。
附2022年录取分数线:
(还有部分省份暂未公布)
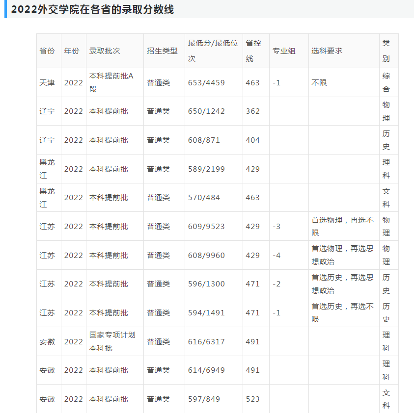
培养一流外交外事人才的小规模、高层次、特色鲜明的外交部唯一直属全国重点大学,设有研究生院,被誉为“中国外交官的摇篮”。
开办了9个本科专业,作为国内唯一的一所以培养外交官为目标的高校,外交学院隶属于外交部,曾被称为“官校”。该校每年只招收几百人,而且只在一部分省中招生。录取分数也很高,基本在各省的录取分数线高出一百分以上。
毕业之后若是实力最强的毕业生,毕业后可进入外交系统工作,比很多985、211的薪资待遇都要高。外交学、国际关系是国家重点学科,如果毕业之后想从事外交官这份职业,这所大学是很值得报考的学校。
附2022年录取分数线:
(还有部分省份暂未公布)
上海海关学院最早是清政府时期建立的税务学堂,是我国最早的税务学堂。其在上海解放后停办了一段世界之后,于两年之后又重新建立,并且改名为上海海关学校,其也是新中国成立之后建立的第一所海关大学。在21世纪之后这所学校才改名为上海海关大学直到现在。
尽管这所大学是个二本院校,但是其税务专业是国家级特色专业,其法学与税务也都是国家级特色专业建设点。大家都知道公务员报考中,海关方面是炙手可热的,而上海海关学院可以说拥有着我国最好的海关专业,因此这所大学的学生在报考公务员的时候有着非常大的优势,据统计这所大学每年的公务员录取率高达百分之九十以上,要知道全国的公务员的录取率只有五分之一,由此可见这所大学考公务员是多么简单。
附2022年录取分数线:
(还有部分省份暂未公布)
简称“国关”,地处北京市西郊,由中华人民共和国教育部直属,为财政部6所“小规模试点高校“之一,是以外语、国际问题为教学科研的全国重点大学,每年的毕业生基本上就是进入保密部门工作,所以很多人对于该院校并不了解。
其实该校的背景实力强,对于考生的政审特别严格。毕业之后的就业质量很不错,大部分的毕业生都是能够进入保密机构工作。如果选择考研的同学,若是通过自己的努力考上,毕业后就业就能进入国家机关、央企、外企。
附2022年录取分数线:
(还有部分省份暂未公布)
看了小车推荐的这几个高校,你会如何选择呢?是一如既往选择985、211,还是这些就业率更高,能“躺着”成为公务员的学校呢?




















