广东食品药品职业学院是经广东省人民政府批准、教育部备案的公办全日制普通高等职业院校,是国家优质专科高等职业院校、中国特色高水平高职学校和专业建设计划立项建设单位、广东省示范性高职院校、广东省一流高职院校立项建设单位、广东省五一劳动奖状获得单位、广东省文明校园、教育部现代学徒制试点单位、国家示范职业教育集团立项建设单位。学校以专科层次教育为主,专业涵盖工、理、医、管、文等门类,是培养药品、食品、医药卫生、保健品、化妆品、医疗器械等行业高素质技术技能型人才的摇篮。
根据《广东省教育厅关于实施2020年高职扩招专项行动有关工作的通知》要求,我校2020年高职扩招专项行动采用自主招生方式,重点开展“1个计划”和“1个试点”。分别是:下岗失业人员、农民工、高素质农民、企业在职员工等社会人员开展的“社会人员学历提升计划”;面向现代学徒制试点合作企业在职员工开展的“现代学徒制试点”。
一、 招生对象
2020年高职扩招专项行动招生对象为符合《关于做好广东省2020年普通高校招生统一考试报名工作的通知》(粤招〔2019〕13号)规定的高考报名条件的退役军人、下岗失业人员、农民工、高素质农民、企业在职员工等,以及符合条件的港澳台考生。根据《广东省高职扩招专项工作实施方案》(粤教职〔2019〕34号)等文件精神,累计具有广东省1年(含)以上社保并与我省企业签订了劳动合同的外省户籍在职员工也可报考,社保统计截止时间为2020年8月31日。
(一)现代学徒制考生在办理录取手续前必须已和试点专业合作企业签订劳动合同。
(二)具有高级中等教育学校毕业或具有同等学力(含普通高中、中职、中专、职中、技校)。
(三)报考护理、助产专业的人员应当取得省级卫生行政部门颁发的执业护士证书;报考中药学、药学、中医养生保健、医学检验技术、医学美容技术、医疗器械维护与管理专业的人员应是从事相应专业工作的在职专业技术人员;考生报考的专业应与所从事的专业对口。
2020年在其他考试中被高校本专科录取的考生(含录取后不报到考生),不能参加高职扩招专项行动招生录取。
二、 招生专业和计划点
(一) 社会人员学历提升计划
1、普通计划
序号 | 专业名称 | 专业 代码 | 招生计划(人) | 学制 | 教学地点名称 | 教学地点地址 | 学费 | 招生咨询电话 | |
总计 | 其中下岗失业人员、农民工和高素质农民 | ||||||||
1 | 护理 | 620201 | 60 | 42 | 3年 | 河源市卫生学校 | 河源市源城区东环路东江教育城 | 6410元/学年 | 0762-3278266 0762-3278269 欧老师、魏老师 |
2 | 助产 | 620202 | 60 | 42 | 3年 | 6410元/学年 | |||
3 | 助产 | 620202 | 100 | 70 | 3年 | 广东省新兴中药学校 | 广东省新兴县城区果园路 | 6410元/学年 | 0766-2951212 13826855133 邓老师、苏老师 |
4 | 护理 | 620201 | 100 | 70 | 3年 | 广东省湛江卫生学校 | 湛江市赤坎区寸金路37号 | 6410元/学年 | 涂老师13692321889 何老师13553458600 韦老师13414989822 办公室: 0759-3194678 0759-3194219 |
5 | 助产 | 620202 | 30 | 21 | 3年 | 6410元/学年 | |||
2、基层卫生人员学历提升班
序号 | 专业名称 | 专业 代码 | 招生计划(人) | 学制 | 教学地点名称 | 教学地点地址 | 学费 | 招生咨询电话 | |
总计 | 其中下岗失业人员、农民工和高素质农民 | ||||||||
1 | 医学检验技术 | 620401 | 60 | 42 | 3年 | 河源市卫生学校 | 河源市源城区东环路东江教育城 | 6410元/学年 | 0762-3278266 0762-3278269 欧老师、魏老师 |
2 | 药学 | 620301 | 120 | 84 | 3年 | 6410元/学年 | |||
3 | 药学 | 620301 | 60 | 42 | 3年 | 广东省连州卫生学校 | 连州市连州镇洋湄6号 | 6410元/学年 | 13927613180 0763-6611818黄老师 |
4 | 药学 | 620301 | 240 | 168 | 3年 | 广东省新兴中药学校 | 广东省新兴县城区果园路 | 6410元/学年 | 0766-2951212 13826855133 邓老师、苏老师 |
5 | 中药学 | 620302 | 60 | 42 | 3年 | 6410元/学年 | |||
6 | 护理 | 620201 | 70 | 49 | 3年 | 湛江中医学校 | 广东省湛江市麻章区瑞平路6号 | 6410元/学年 | 0759-2705083郑老师 |
7 | 药物制剂技术 | 590209 | 80 | 56 | 3年 | 6410元/学年 | |||
8 | 中药学 | 620302 | 50 | 35 | 3年 | 6410元/学年 | |||
9 | 中医养生保健 | 620803 | 50 | 35 | 3年 | 6410元/学年 | |||
10 | 药学 | 620301 | 130 | 91 | 3年 | 广东省湛江卫生学校 | 湛江市赤坎区寸金路37号 | 6410元/学年 | 涂老师13692321889 何老师13553458600 韦老师13414989822 办公室: 0759-3194678 0759-3194219 |
(二)现代学徒制试点班
序号 | 专业名称 | 专业代码 | 学制 | 招生计划 | 学费 | 合作企业名称 | 教学点 地址 | 招生咨询 |
1 | 医学美容技术 | 620404 | 3年 | 20 | 6410元/学年 | 广州缔美诗生物科技有限公司 | 第一学年在广东食品药品职业学院; 第二、三学年在合作企业; | 张文 13699749383 |
2 | 化学制药技术 | 590206 | 3年 | 25 | 6410元/学年 | 广东佳泰药业股份有限公司 | 第一学年在广东食品药品职业学院; 第二、三学年在合作企业; | 雷灿权13602680588 郑道平13243829909 |
3 | 药品经营与管理 | 590301 | 3年 | 40 | 6410元/学年 | 广东泰宝医疗科技股份有限公司 | 第一学年在广东食品药品职业学院; 第二、三学年在合作企业; | 卢盼霞 13450417413 胡锦纯 15915618259 |
4 | 医疗器械维护与管理 | 620807 | 3年 | 40 | 6410元/学年 | 广东德鑫医疗科技有限公司 | 第一学年在广东食品药品职业学院; 第二、三学年在合作企业; | 李均源 13922527333 |
5 | 中医养生保健 | 620803 | 2年 | 30 | 6410元/学年 | 广州奈瑞儿美容科技有限公司 | 第一、二学年在合作企业 | 雷婷玉15920389771 |
6 | 中医养生保健 | 620803 | 2年 | 30 | 6410元/学年 | 佛山玉玄宫科技股份有限公司 | 第一、二学年在合作企业 | 周晓萍 18823154481 |
7 | 药物制剂技术 | 590209 | 3年 | 30 | 6410元/学年 | 广州一品红制药有限公司 | 第一学年在广东食品药品职业学院; 第二、三学年在合作企业; | 梁鹏020-28398635 |
8 | 医疗器械维护与管理 | 620807 | 3年 | 40 | 6410元/学年 | 广东泰宝医疗科技股份有限公司 | 第一学年在广东食品药品职业学院; 第二、三学年在合作企业; | 卢盼霞 13450417413 胡锦纯 15915618259 |
9 | 护理 | 620201 | 3年 | 30 | 6410元/学年 | 广东北斗健康产业集团有限公司 | 第一、二、三学年在合作企业 | 陈泽珣 15889819199 |
10 | 药学 | 620301 | 2年 | 30 | 6410元/学年 | 广州华安医药连锁有限公司 | 第一、二学年在合作企业 | 肖辉锋 18929573630 |
11 | 药品质量与安全 | 590204 | 3年 | 20 | 6410元/学年 | 广州安诺科技股份有限公司 | 第一、二、三学年在合作企业 | 黄金生 13660669661 |
序号 | 专业 | 专业代码 | 学制 | 招生计划 | 学费 | 依托载体名称 | 合作单位 | 教学点 地址 | 招生咨询 |
12 | 食品质量与安全 | 590103 | 3年 | 80 | 6410元/学年 | 广东省食品安全质量协会 | 广东药食同研生物科技有限公司 | 第一学年在广东食品药品职业学院; 第二、三学年在合作企业; | 霍燕兰 13710703597 刘进寿 13929568567 |
广州乐活生物科技有限公司 | |||||||||
广州多满分食品有限公司 | |||||||||
广东三元麦当劳食品有限公司 |
三、 招考方式
(一)采用“文化素质+职业技能”考核方式,合并同卷进行测试满分值100分;采用单考“文化素质”考核方式,单独试卷进行测试满分值100分;采用单考“职业技能”考核方式,单独试卷进行测试满分值100分;由我校自主命题及组织实施,拟录取考生的测试成绩原则上不低于测试满分值的40%。
(二)对于退役军人、下岗失业人员、农民工和高素质农民等,可免予文化素质考核,进行与报考专业相关的职业技能考核。
(三)对于取得相关职业技能等级证书的考生,报考相关专业可免职业技能考核,进行与报考专业相关的文化素质考核。(具体证书要求见下表)
(四)取得与所报考的招生院校招生专业大类相关的省级及以上单位主考或授权主考的中级(广东省教育考试院主考的专业技能课程证书为B级)及以上职业资格技能等级证书的考生(具体证书要求见下表);曾获得省级及以上单位组织的职业技能大赛相关奖项的考生,经我校核实资格并公示后可免试录取。
专业 | 专业代码 | 免职业技能考核 证书要求 | 免试 证书要求 |
护理 | 620201 | 护理技能证(B级及以上) | |
助产 | 620202 | 护理技能证(B级及以上) | |
药学 | 620301 | 化学技能证书(B级以上) | |
中药学 | 620302 | 药物制剂工(中级/四级)、中药炮制工(中级/四级)、生物技术基础证书(B级以上) | |
医学检验技术 | 620401 | 化学技能证(B级以上)、生物技术基础技能证(B级以上) | |
中医养生保健 | 620803 | 保健按摩师(中级/四级)、保健刮痧师(中级/四级)、健康管理师(中级/四级) | |
药物制剂技术 | 590209 | 药物制剂工(中级/四级及以上) | |
药品质量与安全 | 590204 | 药物检验工、食品检验工、中药检验工 | 药物检验工(中级/四级及以上)、食品检验工(中级/四级及以上)、中药检验工(中级/四级及以上) |
化学制药技术 | 590206 | 化学检验工,药物制剂工 | 化学检验工(中级/四级及以上),药物制剂工(中级/四级及以上) |
药品经营与管理 | 590301 | 医药商品购销员、医药商品营业员、健康管理师 | 药物制剂工(中级/四级及以上)、中药调剂员(中级/四级及以上)、医药商品购销员(中级/四级及以上)、医药商品营业员(中级/四级及以上)、健康管理师(中级/四级及以上) |
医学美容技术 | 620404 | 美容师证、 保健按摩师 | 美容师(中级/四级及以上)、保健按摩师(中级/四级及以上)、公共营养师(中级/四级及以上)、 健康管理师(中级/四级及以上)、 心理咨询师(中级/四级及以上) |
医疗器械维护与管理 | 620807 | 电工、电子产品制版工、无机化学反应生产工 | 电工(中级/四级及以上)、电子产品制版工(中级/四级及以上)、无机化学反应生产工(中级/四级及以上)、矫形器装配工(中级/四级及以上)、假肢装配工(中级/四级及以上) |
食品质量与安全 | 590103 | 食品检验工、化学检验工 | 药物检验工(中级/四级及以上)、食品检验工(中级/四级及以上)、中药检验工(中级/四级及以上) |
(五)通过我校报考资格复核的考生在10月15-16日凭身份证和姓名登录 http://lqcx.gdyzy.edu.cn/exam/index 打印准考证。
(六)测试时间:10月17日上午(具体时间以准考证为准)
社会人员学历提升计划测试地点:报考专业的教学点;
现代学徒制试点班测试地点:广东食品药品职业学院
10月21日之前在学校招生网站上公示考生测试成绩。考生测试成绩公示3天无异议后,根据本校招生简章中公布的录取规则制定拟录取方案,并将拟录取考生名单通过广东省普通高考录取系统相应功能模块上报省招生办公室审核备案。
四、 报名及志愿填报
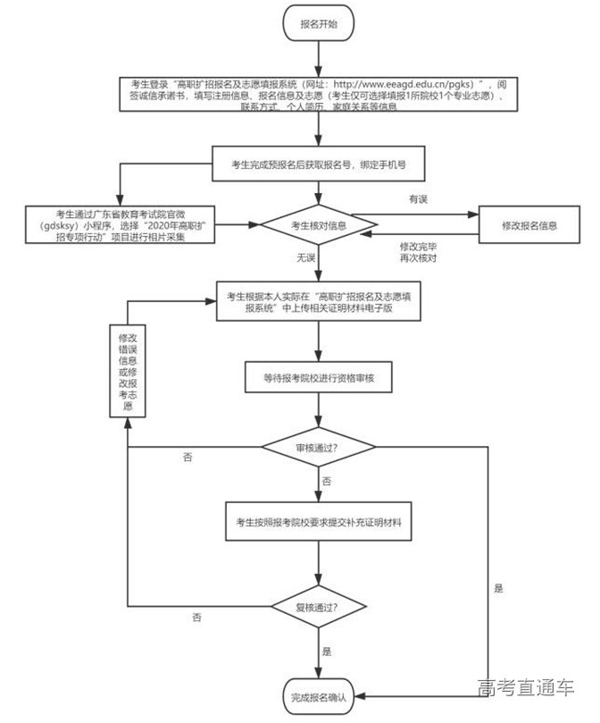
(一)考生登录广东省高职扩招报名及志愿填报系统http://www.eeagd.edu.cn/pgks),根据系统指引阅签诚信承诺书,填写注册信息、报名信息及志愿信息、联系方式、个人简历、家庭关系等信息,获取报名号、绑定手机号,通过微信小程序采集相片并经核对信息无误后根据实际按照要求上传相关证明材料电子版。高职扩招报名及志愿填报工作全部在网上进行,考生仅可填报1所院校1个专业志愿,时间为9月29日9:00至10月9日17:00,报考资格审核、复核及志愿确认时间为2020年9月29日9:00至10月11日17:00,逾期不再办理相关手续。
考生报考资格复核由我校组织开展,具体上传证明材料如下:
1.广东省户籍考生。须上传本人身份证、户口簿、高中阶段(含普通高中、中职、中专、职中、技校,下同)学校毕业证书原件或同等学力证明电子版。
2.符合条件的港澳台考生。符合条件的港澳考生上传本人香港或澳门居民身份证、《港澳居民来往内地通行证》或《港澳居民居住证》、高中阶段学校毕业证书原件或同等学力证明电子版;符合条件的台湾省籍考生上传本人在台湾居住的有效身份证明、《台湾居民来往内地通行证》或《台湾居民居住证》、高中阶段学校毕业证书原件或同等学力证明电子版。
3.外省户籍在粤工作人员。须上传本人身份证、高中阶段学校毕业证书原件或同等学力证明、本人与企业签订的劳动合同,以及本人累计在粤满一年的参保证明电子版。参保证明时间计算截止日期为2020年8月31日,由考生携带身份证或社会保障卡前往属地社会保险基金管理局办事大厅打印或在广东政务服务网上打印。外省户籍在粤工作人员参保情况将在考生报名结束后由省社保部门统一复核。对于复核情况不属实的考生,取消高职扩招专项行动报名资格,由此产生的一切后果由考生负责。
4.现代学徒制考生。满足上述1、2、3条件之一的现代学徒制考生还须上传与试点专业合作企业的劳动合同原件电子版或在录取前向招生院校提供与试点专业合作企业的劳动合同复印件。
5.退役军人考生。满足上述1、3条件之一的退役军人考生还须上传本人退役证(或复员证、退伍证)原件电子版。
6.申请免考职业技能考试的考生,须上传相关职业技能等级证书原件电子版;申请免试考生须上传省级及以上单位主考或授权主考的中级(广东省教育考试院主考的专业技能课程证书为B级)及以上职业资格技能等级证原件电子版,或上传省级及以上单位组织的职业技能大赛奖项证明材料原件电子版;
7.报考护理、助产专业的人员须上传执业护士证书原件电子版,社会人员学历提升计划考生报考中药学、药学、中医养生保健、医学检验技术、医学美容技术、医疗器械维护与管理专业的人员须上传从事相应专业工作的在职证明原件电子版(加盖单位公章),报考其他专业的人员须上传报考专业与所从事的专业对口的在职证明原件电子版(加盖单位公章)。
(二)考生身份类型确认。
退役军人指符合相关规定,退出现役的军官、士官和义务兵;下岗失业人员包括在人力资源社会保障部门公共就业服务机构登记失业的人员和因企业生产经营困难停工停产的下岗待岗职工;农民工指户籍仍在农村、在本地从事非农产业或外出从业的劳动者;高素质农民指长期稳定以农业及关联产业为主要职业,具有一定规模化水平,具备较高科学文化素质和生产经营能力,农业生产经营收入是主要劳动收入的现代农业从业者。以上四类人员的考生身份,由考生在报名系统中根据自身实际情况填写。
(二)资格审核
高职扩招考生报考资格审定工作实行网上审核与线下审核相结合的方式,我校先根据考生在系统中填报信息以及上传的相关证明材料电子版对考生进行资格审核,如有需要,将联系考生线下提供补充证明材料。由于考生未正确填报联系方式,我校无法联系考生提供必要的证明材料的,考生报考资格审核不通过的后果由考生自负。
五、 培养方式
(一)采用在岗培养与学校培养相结合的人才培养模式,实行工学交替等学习形式,采取适合成人、方便就学、灵活多元的教学模式,探索线上与线下混合教学和网上教学,实施学分制管理改革。
(二)各试点班学生,入学后不得转学,不得转入试点专业或其他专业非试点班,非试点班学生不能转入试点班学习。原则上不得转专业、不得转教学地点,个别学生因工作地点变动等特殊情况申请转教学地点,理由充分、情况属实且符合相关要求的,可同意学生转教学地点;转入教学地点的专业选择受限制的,如符合国家和省相关要求,经教育行政部门批准,可转专业,但不得转入非2020年高职扩招招生专业。
(三)通过高职扩招专项行动录取的考生在2020年秋季入学。学生修完教育教学计划规定内容,成绩合格,达到毕业条件和要求的,可获得我校普通专科毕业证书。
(一)录取时间及方式
2020年高职扩招专项行动工作将于2020年10月26-30日进行,实行计算机远程网上录取。
(二)录取原则
录取时根据考生测试成绩按专业从高到低录取,考生按“文化素质+职业技能”同卷进行测试满分值100分;“文化素质”单卷进行测试满分值100分;“职业技能”单卷进行测试满分值100分;录取考生的测试成绩原则上不低于测试满分值的40%。报考2020年社会人员学历提升计划的下岗失业人员、农民工、高素质农民招生计划单列。符合免试录取资格考生将优先录取。
(三)拟录取名单确定
1.招生工作在学校招生委员会的领导下及学校纪检部门的监督下进行,录取程序必须透明、公开。
2.考生测试成绩公示3天无异议后,根据本校招生简章中公布的录取规则制定拟录取方案,并将拟录取考生名单通过广东省普通高考录取系统单考单招模块上报省招生办公室审核备案。
(四)录取新生名册和录取通知书
录取新生名册由广东省招生办公室统一打印、审核,并加盖广东省招生办公室录取专用章,以此作为正式录取的依据。任何人不得擅自更改录取名册内考生的姓名、身份证号、毕业学校等信息。我校将根据广东省招生办公室核准的录取新生名册填写《新生录取通知书》,由学校主要领导签章及加盖本校招生公章后,直接寄送录取考生。
(五)新生注册与复查
2020年高职扩招专项行动录取考生,于2020年11月初入学,须在规定时间内缴交学费及注册。逾期未注册者,取消入学资格。
新生入学后,招生院校应对录取新生进行资格复查。复查后发现在报名和考核过程中有弄虚作假或其他违纪违规行为者,将按规定取消其入学资格。
六、 收费和资助政策
(一)高职扩招专项行动试点班学生应按规定交纳学费,具体标准执行物价部门相关规定。
(二)符合条件的学生,可按《财政部 教育部 人力资源社会保障部 退役军人部 中央军委国防动员部关于印发<学生资助资金管理办法>的通知》(财科教〔2019〕19号)等文件精神申请资助。
七、 信息发布
所有关于2020年高职扩招专项行动招生的信息都通过学校招生信息网发布
(http://www.gdyzy.edu.cn/web/loadWebPage.do?4401401_440114302_0_4),不再另行通知。敬请考生随时关注我校招生信息网。
八、 学校招生联系方式
咨询热线:020-28854829/28854882/28854365/37216565
通信地址:广州市天河区龙洞北路321号广东食品药品职业学院招生办办公室(行政楼211办公室) 邮政编码:510520
接受纪律监督与申诉的联系部门:学校纪委办
联系人:朱老师
监督电话:020-28854851
电子邮箱:jcs@gdyzy.edu.cn
九、 以上信息如有跟上级文件相冲突,以上级文件通知为准。
附件:1、广东省2020年高职扩招考生报考流程图
2、2020年高职扩招工作日程安排
附件1:
广东省2020年高职扩招考生报考流程图
附件2
2020年高职扩招工作日程安排
时间安排 | 工作内容 |
9月28日前 | 公布招生简章 |
9月29日9:00至 10月9日17:00 | 符合报名资格的考生办理报名手续及填报志愿,并按要求在系统中上传相关证明材料原件电子版 |
9月29日9:00至 10月11日17:00 | 我校根据考生在系统中填报的信息及上传的相关证明材料电子版完成报考考生资格复核 |
10月12日 | 处理考生报名及填报志愿遗留问题 |
10月15—16日 | 打印准考证 |
10月17日 | 进行文化素质、职业技能考核。 |
10月21日 | 在学校招生网公示考生成绩。 |
10月25日前 | 在广东省普通高考录取系统提交拟录取考生信息 |
10月26-29日 | 省招生办公室通过录取系统审核提交的拟录取方案,办理录取备案及录取名册打印 |
10月30日前 | 完成高职扩招录取工作,在本校招生网站上公示录取考生名单。根据本校招生工作安排确定录取通知书发放时间 |
11月初 | 录取考生进行报到注册,具体时间见录取通知书和学校招生网站。 |
