广东文理职业学院
高职扩招专项报考指南
火热上线!
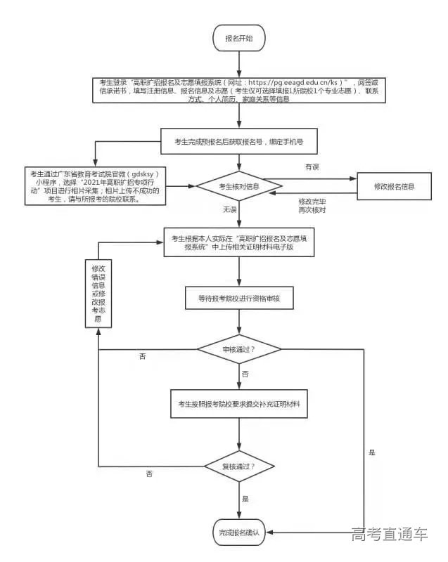
学院简介 广东文理职业学院 2021年高职扩招招生简章 一、指导思想 根据《教育部办公厅等六部门关于做好2021年高职扩招专项工作的通知》(教职成厅函〔2021〕9号)、《广东省教育厅等八部门(单位)关于做好2021年高职扩招工作的通知》(粤教职函〔2021〕28号)等文件精神,为高质量完成我校高职扩招任务,结合学校实际情况,制定本简章。 二、招生对象及报考条件 (一)招生对象 1.符合《关于广东省2021年普通高校招生统一考试报名有关事项的通知》(粤招〔2020〕11号)等有关文件规定的高考报名条件的退役军人、下岗失业人员、农民工、高素质农民、企业在职员工、基层在岗人员、灵活就业人员等社会人员,以及符合条件的港澳台考生。 2.累计具有广东省1年(含)以上社保并与我省企业签订了有效劳动合同的外省户籍在职员工,社保统计截止时间为2021年8月31日。 (二)报考条件 1.社会人员学历提升计划考生,报考临床医学、口腔医学、预防医学、中医学等临床类专业,应取得省级卫生行政部门颁发的相应类别的执业助理医师及以上资格证书,或者区县级以上卫生行政部门颁发的乡村医生执业证书;报考护理专业,应取得省级卫生行政部门颁发的执业护士证书;报考医学门类其它专业,应是从事相应专业工作的在职专业技术人员。报考上述专业的考生,应为对口专业从业人员。 2.高中阶段学校的在校生、具有普通高等学历教育资格的高校在校生,以及2021年在广东省或其他省(市、区)参加普通高校招生考试并被录取的考生(含录取后不报到考生)不得参加广东省2021年高职扩招专项行动。相关考生报考高职扩招专项行动,录取后无法注册学籍等后果由考生自行承担。 三、招生计划 四、高职扩招报名及志愿填报 符合高职扩招专项行动报考条件和相关专业报考要求且拟报考2021年高职扩招专项行动的考生须进行广东省2021年高职扩招报名及院校专业志愿填报。已参加广东省2021年普通高校招生统一报名且获得高考报名号的考生可直接使用已获得高考报名号进行院校专业志愿填报,无需重新进行高考报名。高职扩招报名、院校专业志愿填报、考生报考资格审核及复核工作流程详见下方广东省2021年高职扩招考生报考流程图。 考生需登录2021年高职扩招报名及志愿填报系统(网址:https://pg.eeagd.edu.cn/ks,下称“报名及志愿填报系统”)完成报名及院校专业志愿填报,并按相关要求进行报名确认、志愿填报以及报考资格审核、复核。考生仅可填报1所院校1个专业志愿,报名及志愿填报时间为2021年9月22日14:00至9月27日14:00,报考资格审核、复核及志愿确认时间为2021年9月22日14:00至9月30日10:00。 考生在填报志愿前应先向招生院校咨询,明确本人符合相关专业报考条件后再填报院校专业志愿。报名及志愿填报结束后,考生不得修改已填报的个人信息或院校专业志愿。因未认真查阅或向招生院校咨询院校专业具体报考条件而无法获得高职扩招专项行动报考资格的责任由考生自负。 ▲广东省2021年高职扩招考生报考流程图 五、考核办法 2021年高职扩招专项行动考核工作执行自主招生模式,采用“文化素质+职业技能”考核方式。考核工作于10月9日由我校自主组织实施,“文化素质”及“职业技能”考核合并同卷进行卷面测试,“文化素质”及“职业技能”考核满分值合计100分。 六、录取办法 (一)录取时间及方式 高职扩招专项行动录取工作将于10月18日-25日进行,实行计算机远程网上录取。2021年高职扩招工作日程安排详见下文。 (二)拟录取名单确定 2021年高职扩招专项行动工作在我校招生委员会的领导下及学校纪检部门的监督下进行,考核、录取程序确保透明、公开。 学校根据报考考生的专业志愿及成绩情况划定最低录取分数线。拟录取考生的测试成绩原则上不低于测试满分值的40%。考生在其所报考的专业中按“总分优先”的原则从高到低录取(成绩均四舍五入到小数点后两位)。考生总分相同时,按职业技能考核成绩从高分到低分择优录取。 (三)测试结束后,我校在学校招生网站上公示考生测试成绩。 考生测试成绩公示3天无异议后,我校根据本校招生简章中公布的录取规则制定拟录取方案,并将拟录取考生名单通过广东省普通高考录取系统相应功能模块上报省招生办公室审核备案,经省招生办公室审核通过的考生方可确认为正式录取。学校根据省招生办公室审核通过后的名单发放录取通知书,并在学校网站上公布。 (四)录取新生名册和录取通知书 录取新生名册由广东省招生办公室统一打印、审核,并加盖“广东省招生委员会办公室录取专用章”及领导签章,以此作为正式录取的依据。任何人不得擅自更改录取名册内考生的姓名、身份证号、毕业学校等信息。招生院校自行印制《新生录取通知书》,须根据广东省招生办公室核准的录取新生名册填写《新生录取通知书》,须对《新生录取通知书》的真实性负责,由校长签章及加盖本校公章后通过邮政特快专递等给据邮件方式直接寄送录取考生,确保寄送全过程可查询、可追溯,确保邮件安全。 (五)新生注册与复查 2021年高职扩招专项行动录取考生,于2021年11月初入学,须在规定时间内缴交学费及注册。逾期未注册者,取消入学资格。 新生入学后,我校还对录取新生进行资格复查。复查后发现在报名和考核过程中有弄虚作假或其他违纪违规行为者,将按规定取消其入学资格。 七、培养方式和毕业证书 (一)采用在岗培养与学校培养相结合的人才培养模式,实行工学交替等学习形式,采取适合成人、方便就学、灵活多元的教学模式,探索线上与线下混合教学和网上教学,实施学分制管理改革。 (二)通过高职扩招专项行动录取的考生,学籍管理、毕业证书等由我校负责。各试点班学生,入学后不得转学,不得转入试点专业或其他专业非试点班,非试点班学生不能转入试点班学习。原则上不得转专业、不得转教学地点,个别学生因工作地点变动等特殊情况申请转教学地点,理由充分、情况属实且符合相关要求的,有关高职院校可同意学生转教学地点;转入教学地点的专业选择受限制的,如符合国家和省相关要求,经教育行政部门批准,可转专业,但不得转入非2021年高职扩招招生专业。 (三)通过高职扩招专项行动录取的考生在2021年秋季入学。学生修完教育教学计划规定内容,成绩合格,达到毕业条件和要求的,可获得高校普通专科毕业证书。 八、收费和资助政策 高职扩招专项行动试点班学生应按规定交纳学费,广东文理职业学院专业学费8000元/生/年,教材费500元/年。 符合条件的学生,可按《财政部 教育部 人力资源社会保障部 退役军人部 中央军委国防动员部关于印发<学生资助资金管理办法>的通知》(财科教〔2019〕19号)等文件精神申请资助。 九、时间安排 *备注:具体时间安排以广东省教育考试院公布为准。 十、联系方式 通信地址: 广东省廉江市开发区78号 联系人: 吴老师18022611068 黄老师13651499286













