据上海财经大学官微消息,4月12日,上海财经大学高级会计审计学院成立仪式暨会计审计专业学位博士培养创新论坛顺利举行。
上海财经大学校长刘元春表示,学校坚持贯彻落实国家高等教育改革政策,持续推动专业学位研究生教育高质量提升。学校决定成立高级会计审计学院,既是贯彻落实国家发展战略和社会发展需求的重要举措,也是学校推进学科建设和人才培养的重要探索,标志着会计审计学科发展开启全新征程。
财政部会计司司长林启云表示,上财顺应时代发展趋势,成立高级会计审计学院,正当其时,标志着会计教育从“规模化培养”向“质量跃升”又迈出了关键一步。希望上财继续秉承优良办学传统,建设成为高水平会计审计人才培养高地、数智化会计审计实务创新高地,培养更多中国自主会计审计知识体系的构建者、国际会计治理中国声音的传播者。
上海市教育卫生工作党委副书记张艳萍强调,会计审计作为经济活动的“语言”与“监测器”,是筑牢经济稳健运行与市场健康发展的重要基石。上海财经大学凭借全国首批会计博士专业学位教育试点单位的先发优势,正式成立高级会计审计学院,充分彰显学校深耕财经领域的战略布局。希望学院聚焦高层次复合型会计审计人才培育,深化交叉融合,机制创新,为会计审计教育改革贡献“上财方案”。
全国会计专业学位研究生教育指导委员会秘书长、中国人民大学副校长支晓强首先高度肯定上海财经大学在会计专业学位研究生教育二十载深耕所取得的卓越成就,同时对专业学位博士培养提出殷切期许。他表示上海财经大学的学术型博士培养在学术界具有很大影响力,希望学校以高级会计审计学院为新的起点,紧扣国家重大战略需求,勇担全国首批试点单位使命,探索中国自主人才培养的新路径,开拓会计审计高端人才培养的新范式,将专业学位博士培养同步打造为具有全国引领力的品牌,为全国专业学位博士教育改革提供示范性经验。
上海财经大学高级会计审计学院院长陈信元介绍学院情况及发展愿景。他表示,面对国家战略需求与产业升级挑战,站在学校获批全国首批会计专业博士学位点这一新的起点,学院将以“探究创值规律,培植业界英才,传播商业文明,推动社会进步”为使命,以“政产学研协同创新”为特色,打造扎根中国的世界一流会计审计教育高地,培育高端会计审计人才,为解决中国会计审计重大现实问题,赋能产业实践与国家治理体系和治理能力现代化建设贡献智慧和力量。
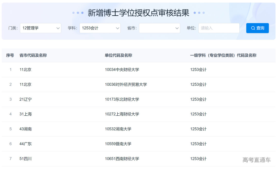
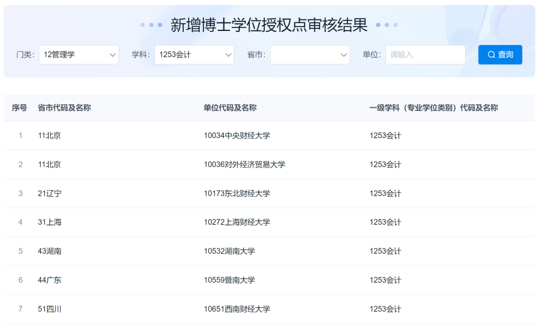
据悉,2024年7月31日,国务院学位委员会办公室公示了新增博士硕士学位授权审核专家核查及评议结果。7所院校获批会计专业博士学位点,分别是中央财经大学、对外经济贸易大学、东北财经大学、上海财经大学、湖南大学、暨南大学、西南财经大学。
